Verlegerichtlinien
Verlegerichtlinien
Bitte wählen Sie eines oder mehrere Kapitel zum Download aus.
Inhaltsverzeichnis

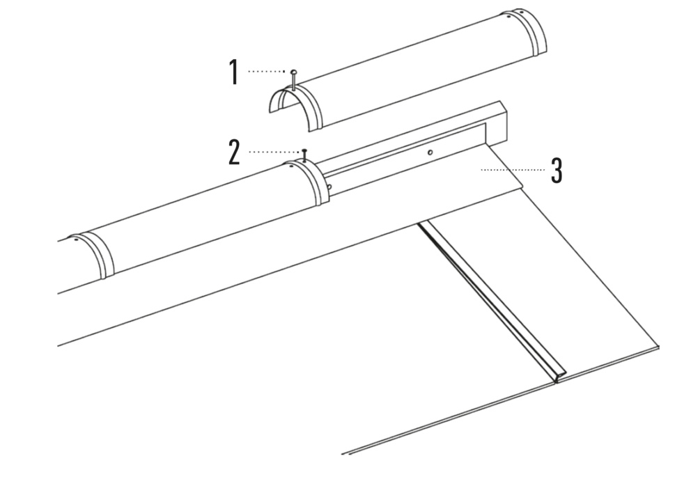
Saumstreifen und Saumabschlüsse

Saumstreifen für Dachplatte

Montage des Saumstreifens

Der Traufenüberstand des Saumstreifens sollte im hinteren Drittel der Rinnenbreite liegen und darf 80 mm nicht überragen.
Messen Sie von der geplanten Oberkante der ersten Dachplatte 450 mm in Richtung Traufe (achten Sie darauf, dass der Traufenüberstand zwischen 30 und 80 mm liegt). Machen Sie 150 mm (Saumstreifenbreite) von unten eine Markierung (= Saumstreifenbreite Oberkante).

Wiederholen Sie den jeweiligen Vorgang an der zweiten Seite der Traufe und verbinden Sie diese Markierungen mit einem horizontalen Farbschnurabschlag.

Der Saumstreifen ist sturmsicher zu nageln (alle vorgestanzten Löcher ausnageln). Heften Sie den Saumstreifen durchgehend an, bevor Sie alle vorgestanzten Löcher mit den beigepackten PREFA Nägeln ausnageln.

Hinweis

Je exakter Sie die Montage des Saumstreifens durchführen, desto leichter werden Sie sich bei der fachgerechten Verlegung des PREFA Dachsystems tun.
Achten Sie darauf, dass der Saumstreifen unter der Trennlage verlegt wird.

Saumstreifen

Montage des Saumstreifens

Der Traufenüberstand des Saumstreifens sollte im hinteren Drittel der Rinnenbreite liegen und darf 80 mm nicht überragen.
Der Anschlag des Saumstreifens erfolgt über die gesamte Traufenlänge geradlinig mithilfe eines vorher durchgeführten Schnurabschlags.
Der Saumstreifen ist sturmsicher zu nageln (alle vorgestanzten Löcher ausnageln).
Anschließend erfolgt der senkrechte Winkelschlag.
Heften Sie den Saumstreifen durchgehend an, bevor Sie alle vorgestanzten Löcher mit den beigepackten PREFA Nägeln ausnageln.

Hinweis

Je exakter Sie die Montage des Saumstreifens durchführen, desto leichter werden Sie sich bei der fachgerechten Verlegung des PREFA Dachsystems tun. Als Hilfestellung sind Markierungen (Schnürmaße) für die jeweiligen PREFA Dacheindeckungen vorgesehen.

Achten Sie darauf, dass der Saumstreifen unter der Trennlage verlegt wird (siehe Abbildung oberhalb).

Besonderheit bei Dachplatte R.16 und Dachpaneel FX.12

Richten Sie den Saumstreifen mit den eingeprägten Markierungen für Dachplatte R.16 bzw. Dachpaneel FX.12 nach der Dachmitte aus.
Hierbei ist zu beachten, dass der Bereich für die seitliche Aufkantung (z. B. Ortgangausbildung) nicht im Falzbereich der Dachplatte R.16 bzw. des Dachpaneels FX.12 liegen soll. Gegebenenfalls verschieben Sie den Saumstreifen um ein Viertel der Abmessung einer Dachplatte R.16 bzw. eines Dachpaneels FX.12.

Besonderheit bei Dachraute 29 × 29 und Dachraute 44 × 44

Richten Sie den Saumstreifen mit den eingeprägten Markierungen nach der Dachmitte aus.
Hierbei ist zu beachten, dass der Bereich für die seitliche Aufkantung (z. B. Ortgangausbildung) nicht mittig in den Dachrauten 29 × 29 bzw. 44 × 44 liegen
soll. Gegebenenfalls verschieben Sie den Saumstreifen um ein Viertel der Abmessung (1/4 des senkrechten Schnürmaßes) einer Dachraute 29 × 29 bzw. 44 × 44.

Ortgangausbildung und seitlicher Anschluss

  • Kanten Sie die PREFA Dacheindeckung 30 mm im rechten Winkel zur Dachfläche hoch (Bild 1).
  • Schlagen Sie die Oberkante des original Ortganghaltestreifens auf die Oberkante des Stirnbretts an und nageln Sie den Ortganghaltestreifen sturmsicher aus (Bild 2).
  • In schneereichen Gebieten soll die Ortgangausbildung gemäß Bild 3 ausgeführt werden.
  • Bei einer Ortgangausbildung mit hochgezogenem Stirnbrett sind die in Bild 4 dargestellte Variante anzuwenden.

Besonderheit bei Dachplatte R.16 und Dachpaneel FX.12

Klinken Sie im Bereich der Hochkantung den oberen Patentfalz aus, sodass ein Hakenfalz bleibt (Bild 1 und 2), und biegen Sie die Dachplatte R.16 oder das Dachpaneel FX.12 30 mm im rechten Winkel zur Dachfläche hoch.

Besonderheit bei Dachschindel

Bei jeder linksseitigen Aufkantung der Dachschindel (Ortgangstreifen und Einfassung) sind die schräg nach unten laufenden Fälze auszuklinken, um eine Kapillarwirkung zu vermeiden.

  • Aufkantungsbereich und 30 mm Falzzugabe anzeichnen (Bild 1).
  • Dachschindel mit Falzzugabe schneiden (Bild 2).
  • Falzausklinkung herstellen (Bild 3 und 4).
  • Ausgeklinkte Dachschindel eindecken und aufkanten (Bild 5 und 6).

Varianten mit gekürzter Schindel oder Passschindel

Weitere Varianten sind, die schrägen Fälze mit einer gekürzten Dachschindel oder mit einer Passschindel außerhalb des Aufkantungsbereichs zu setzen.

Variante 1: Gekürzte Schindel
Letzte Dachschindel vor der Hochkantung kürzen und eindecken (Bild 7 und 8).

Variante 2: Passschindel
Passschindel anbringen, mit Falzzugabe von 30 mm schneiden und aufkanten (Bild 8 und 9).

Durch die fachgerechte Ausbildung wird die Regensicherheit des Daches gewährleistet.
Nach Vorbereitung der Dachschindel kann die Anschlussverblechung (z. B. Giebelverkleidung oder Wandanschlusskehle) hergestellt und in die Deckung eingearbeitet werden.

Besonderheit bei Dachschindel DS.19

Bei jeder linksseitigen Aufkantung der Dachschindel DS.19 (Ortgangstreifen und Einfassung) sind die schräg nach unten laufenden Fälze auszuklinken, um eine Kapillarwirkung zu vermeiden.

  • Aufkantungsbereich und 30 mm Falzzugabe anzeichnen und an der Falzzugabe schneiden (Bild 1).
  • Falzausklinkungen herstellen (Bild 2 und 3).
  • Ausgeklinkte Dachschindel DS.19 eindecken und aufkanten (Bild 4 und 5).

Variante Passschindel DS.19

Eine Variante ist, die schrägen Fälze mit einer Passschindel DS.19 außerhalb des Aufkantungsbereiches zu setzen.

  • Passschindel DS.19 eindecken und den schräg einlaufenden Falz am oberen Schindelumschlag markieren (Bild 6).
  • Um die Markierung den Schindelumschlag in Halbmondform freistellen (Bild 7).
  • Passschindel DS.19 eindecken und befestigen (Bild 8).
  • Dacheindeckung hochkanten. (Bild 9 und 10).

Hinweis

Die Passschindel DS.19 ist nicht für komplette Dacheindeckungen geeignet.
ACHTUNG: Das Kürzen einer Dachschindel DS.19 ist aufgrund der Kapillarsicken nicht möglich.

Durch die fachgerechte Ausbildung wird die Regensicherheit des Daches gewährleistet.
Nach Vorbereitung der Dachschindel DS.19 kann die Anschlussverblechung (z. B. Ortverkleidung oder Wandanschlusskehle) hergestellt und in die Deckung eingearbeitet werden.

Besonderheit bei Dachraute 29 × 29

Bei jeder seitlichen Aufkantung der Dachraute 29 × 29 (Ortgangstreifen und Einfassung) sind die schräg nach unten laufenden Fälze an der Unterseite auszuschneiden und aufzubiegen.

  • Aufkantungsbereich und 30 mm Falzzugabe anzeichnen
  • Dachraute 29 × 29 an der Falzzugabe schneiden und die Falzausklinkung herstellen (Bild 1).
  • Falzausbildung aufbiegen und rund schneiden (Bild 2).
  • Ausgeklinkte Dachraute 29 × 29 verlegen und aufkanten (Bild 3 und 4).

Durch die fachgerechte Ausbildung wird die Regensicherheit des Daches gewährleistet.

Nach Vorbereitung der Dachrauten 29 × 29 kann die Anschlussverblechung (z. B. Giebelverkleidung oder Wandanschlusskehle) hergestellt und in die Dacheindeckung eingearbeitet werden.

Besonderheit bei Dachraute 44 × 44

Bei jeder seitlichen Aufkantung der Dachraute 44 × 44 (Ortgangstreifen und Einfassung) sind die schräg nach unten laufenden Fälze an der Unterseite auszuschneiden und aufzubiegen.

  • Aufkantungsbereich und 30 mm Falzzugabe anzeichnen
  • Dachraute 44 × 44 an der Falzzugabe schneiden und die Falzausklinkung herstellen (Bild 1).
  • Falzausbildung aufbiegen und rund schneiden (Bild 2).
  • Der schräge Patentfalz ist an der Oberseite im Bereich der Hochkantung auszuklinken (Bild 3).
  • Ausgeklinkte Dachraute 44 × 44 verlegen und aufkanten (Bild 4).

Durch die fachgerechte Ausbildung wird die Regensicherheit des Daches gewährleistet.
Nach Vorbereitung der Dachrauten 44 × 44 kann die Anschlussverblechung (z. B. Giebelverkleidung oder Wandanschlusskehle) hergestellt und in die Dacheindeckung eingearbeitet werden.

Kehlenausbildung

Variante mit Sicherheitskehle

1 Dachplatte
2 Unterdeckbahn
3 Haft

4 Kehlblech
5 Kehlbrett

Bei der Sicherheitskehle handelt es sich um eine Empfehlung der Firma PREFA.
Grundsätzlich entscheidet der Verleger aufgrund seiner Erfahrung und seiner Ausbildung, ob er eine Sicherheitskehle verwendet. Die Sicherheitskehle bietet gegenüber normalen Kehlblechen eine erhöhte Sicherheit bezüglich Rückstau im sensiblen Kehlbereich.


Vorteile der Sicherheitskehle:

  • Rückstausicher aufgrund der zusätzlichen Rückkantung
  • Vorgefertigtes PREFA Produkt
  • Zusätzliche Kantungen im Überlappungsbereich
  • Kapillarsicken im Überlappungsbereich
  • Bessere Begehbarkeit, erhöhte Stabilität

Variante mit handwerklich gefertigtem Kehlblech

1 Dachplatte
2 Unterdeckbahn
3 Haft

4 Kehlblech
5 Kehlbrett

  • Kanten Sie das Kehlblech bis zur maximalen Länge von 3.000 mm.
  • Der seitliche Wasserfalz ist 40 mm breit beidseitig zu biegen.
  • Die Zuschnittsbreite richtet sich nach der Dachform, der Dachneigung und den Gegebenheiten und soll 500 mm nicht unterschreiten.
  • Bei stark unterschiedlichen Dachneigungen bzw. bei stark unterschiedlichem Wasseranfall ist die Kehle vertieft oder mit einem Stehfalz in der Mitte der Kehlverblechung zu planen.

Kehlanschluss

  • Beim Kehlanschluss wird die beizudeckende PREFA Dacheindeckung mit ca. 35 mm angezeichnet und beschnitten (Bild 1 und 2).
  • Der angezeichnete Einhangfalz wird umgekantet (Bild 3).
  • Die angefertigte PREFA Dacheindeckung wird eingehängt und verlegt (Bild 4).

Besonderheiten bei Dachplatte

Die Deckrichtung ist immer in Richtung zur Kehle zu wählen. Dadurch wird bei einem Abrutschen von Schnee und Eis in diesem Bereich ein Hochbiegen der Überlappungsrille verhindert.

  • Richten Sie die Platte ein und reißen Sie die Innenkante für den Kehlenumschlag an, beschneiden Sie die Platte mit ca. 35 mm Zugabe (Bild 1).
  • Klopfen Sie die Rille im Bereich der Biegekante etwas aus und biegen Sie die Platte um 180° in Richtung Plattenhinterseite. Anschließend Platte einsetzen und mittels Hafte befestigen (Bild 2 und 3).
  • Da bei der Biegekante die Abwicklung der Platte gestreckt wurde, ist die Rille im gedeckten Zustand am leichtesten mit einem abgeschrägten Hammerstiel wieder in die ursprüngliche Form zu bringen. Es wird dadurch ein Verziehen der Platte verhindert (Bild 4).

Besonderheiten bei Dachschindel und Dachschindel DS.19

Hinweis

Der Schnittpunkt linksseitig der Kehle muss bei Dachschindeln und Dachschindeln DS.19 in jedem Fall vermieden werden.

Dachschindel

Wenn der Schnittpunkt Kehle/Schindelstoß linksseitig mit der Kehle zusammenfällt, ist bei Dachschindeln vorher eine gekürzte Dachschindel (1) bzw. Passschindel (1) anzufertigen und zu montieren.

Dachschindel DS.19

Wenn der Schnittpunkt Kehle/Schindelstoß linksseitig mit der Kehle zusammenfällt, ist bei Dachschindeln DS.19 vorher eine Passschindel DS.19 (1) zu montieren.
Das Kürzen einer Dachschindel DS.19 ist aufgrund der Kapillarsicken nicht möglich.

Besonderheit bei Dachplatte R.16 und Dachpaneel FX.12

  • Wenn der Schnittpunkt Kehle/Plattenstoß zusammenfällt, ist vorher ein Passstück anzufertigen und zu montieren (Bild 1).
    Hinweis: Der Schnittpunkt muss bei handwerklich gefertigten Kehlblechen auf jeden Fall vermieden werden.
  • Um den Schnittpunkt zu vermeiden, fertigen Sie aus einer ganzen Dachplatte R.16 oder Dachpaneel FX.12 ein Passstück an (Bild 2 und 3).
    ACHTUNG: Wählen Sie die Größe des Passstückes so, dass die Verlegung der Schneestopper nicht beeinträchtigt wird. Die genaue Ausführung wird an den fluchtenden Schneestoppern deutlich sichtbar.

Hinweis

Bei Verwendung der Sicherheitskehle kann der Kehlanschluss auch so ausgeführt werden, dass der Schnittpunkt Kehle/Plattenstoß zusammenfällt.

Grat- und Firstausbildung

Je nach Dachaufbau und Funktionalität gibt es verschiedene Möglichkeiten.

Jet-Lüfter

Der Jet-Lüfter kann bei Dachneigungen von 12–55° verwendet werden.
Der original Jet-Lüfter weist beidseitig ein Brustblech auf. Ziehen Sie dennoch die Dacheindeckung 40 mm hoch, um einen regensicheren Anschluss zu erreichen.
Befestigen Sie die letzte (erforderlichenfalls zugeschnittene) Plattenreihe mit einem Retourhaft, mittels direkter Befestigung seitlich am Wellenberg der unterliegenden Welle (bei PREFA Dachplatten) oder mittels direkter Befestigung oberhalb des Schaumstoffkeils des Jet-Lüfters.

Montage

  • Die Ausrichtung der letzten Reihe soll so erfolgen, dass ein Luftspalt von 80 mm entsteht. Die PREFA Dachelemente ca. 40 mm senkrecht aufstellen (Bild 1).
  • Dehnfugen von ca. 5 mm zwischen den einzelnen Jet-Lüftern einhalten und anschließend die Klebeschutzfolie des Dichtkeils ca. 50 mm abziehen und nach außen biegen (Bild 2).
  • Beide Verbindungsmuffen mittig einrichten und mit je einer Ø 4,1 mm PREFA Niete als Fixpunkt befestigen (Bild 3).
  • Den Dichtkeil mit der bereits abgezogenen Dichtfläche unter die Verbindungsmuffen kleben. Anschließend die Klebeschutzfolie abziehen (Bild 4).
  • Firstentlüfter mit PREFA Dichtschrauben (60 mm Länge) im Abstand von ca. 600 mm befestigen (Bild 5).
    Anmerkung:
    — Bei Dachplatten die Dichtschraube immer auf den Rillenberg setzen.
    — Bei Dachschindeln und Rauten Befestigung nicht an den schrägen Einhangfalz setzen.
    — Bei FX.12 und R.16 Befestigung nicht am Winkelstehfalz setzen.
  • Vorschlag zur Montage des Jet-Lüfter-Vorkopfes (Bild 6).
    Tipp: Zuerst im Randbereich Abdeckblech montieren und 30 mm für Giebelstreifen aufstellen, anschließend Giebelstreifen ansetzen.
  • Den Jet-Lüfter-Vorkopf anpassen und mit einer Niete befestigen (Bild 7).
  • Beispiel: Grat/First-Verschnitt (Bild 8).

Hinweis

Achten Sie darauf, dass der Schaumstoffkeil über die gesamte Länge an der Dacheindeckung anliegt.

Hinweis

Bei der Anordnung von firstseitigen Abluftöffnungen bei einschaligen Dachaufbauten kann ein Eindringen von Flugschnee nicht gänzlich ausgeschlossen werden.

Sattelgaube

Beim Anschluss des Jet-Lüfters zur Kehle ist der Jet-Lüfter mit einem Abschluss zu dichten und muss so ausgeführt werden, dass kein Niederschlagswasser von der Hauptdachfläche in den Jet-Lüfter eindringen kann.

Grat- und Firstausbildung mit Grat- und Firststreifen

Für die Flugschneesicherheit des Daches ist es unbedingt notwendig, im Grat- und Firstbereich die PREFA Dacheindeckung mind. 40 mm hochzuziehen.
Ist die letzte Plattenreihe sehr kurz, kann auch ein durchgehendes Brustblech mit Bandblech ausgeführt werden.

Tipp: Markieren Sie die Mitte der Firstlatte mit der Farbschnur, um den genauen Verlauf zu garantieren.

Hinweis

Schneiden Sie die Firstreiter genau in Form der Rillen bzw. Fälze an.

1 Dichtschraube

2 Nagel

1 Dichtschraube
2 Nagel

3 Brustblech

Beispiel Grat-/Firstausbildung

  • Die beiden über den Grat laufenden Gratreiter anschneiden, dass diese an der Walmseite ca. 10 mm überlappen, und danach an den Dachlatten mit Schrauben befestigen (Bild 1).
  • Anschließend einen halben Gratreiter so schneiden, dass er den ersten Schnitt der unteren beiden Gratreiter überdeckt. Um das Anpassen des oberen Reiters zu erleichtern, zieht man den äußeren Bereich des Schnittes wie am Foto sichtbar (Bild 2).
  • Nachdem man den in dieser Weise hergestellten Gratreiter an der Firstlatte befestigt hat, kann man mit den herkömmlichen Gratreitern fortfahren (Bild 3).

Besonderheit bei Dachplatte

Wird bei der Dachplatte ein durchgehendes Brustblech montiert, dann ist der obere Plattenumschlag so auszurichten, dass es möglich ist, ein gerades Brustblech einzuhängen.

  • Schneiden Sie den Umschlag des Rillenhochpunktes ein und heben Sie den Umschlag mit dem Schaleisen an (Bild 1 und 2).
  • Klopfen Sie mit dem Hammer die Rille flach, sodass ein gleichmäßig offener Falz entsteht. Das Einschneiden beim Plattenstoß ist nicht nötig (Bild 3).
  • Jetzt kann das Brustblech problemlos eingehakt werden (Bild 4).

Besonderheit bei Dachraute 29 × 29 und 44 × 44

Wird bei den Dachrauten 29 × 29 oder 44 × 44 ein durchgehendes Brustblech montiert, dann sind Endplatten für Dachrauten 29 × 29 bzw. 44 × 44 zu verwenden. Diese ermöglichen einen waagrechten Einhangfalz.

Zwischen den Endplatten für Dachraute 29 × 29 ist der mitgelieferte Abdeckstreifen (1) zu montieren.

Einfache Firstausbildung mit Einhangfalz

Nach dem Zuschneiden der PREFA Dacheindeckung stellen Sie einen Einhangfalz her.

Besonderheit bei Dachplatten

Nach dem Zuschneiden der Dachplatte wird die Mittelrille mit einer Quetschfalte versehen, um einen Einhangfalz herzustellen. Die Quetschfalte kann mittels Falzzange oder auch mittels Rillensickenmaschine hergestellt werden.

Firstausbildung mit einfacher Firstkappe

Eine einfache Firstkappe kann verwendet werden, wenn der Abstand zwischen der PREFA Dacheindeckung und dem Firstpunkt kleiner als 150 mm und keine Entlüftung notwendig ist.

Ausbildung Dachabsatz

Dachplatte

Die Ausbildung erfolgt mit zwei Saumstreifen.

1. Saumstreifen für Dachplatte

2. Saumstreifen gerillt

  • Schlagen Sie den ersten Saumstreifen (1.806 × 150 mm) wie üblich an.
  • Schlagen Sie den zweiten Saumstreifen (Saumstreifen gerillt) über die erste Plattenreihe in Höhe des Falzes der Hauptdachfläche. Legen Sie baustellenbezogen ein Dichtband ein, um einen Spalt für den Einhangfalz der darüberliegende Dachplatte zu erhalten (Bild 1).
  • Die darauffolgende Reihe Dachplatten kann dann über die gesamte Breite verlegt werden (Bild 2).

Dachplatte R.16 und Dachpaneel FX.12

  • 30 mm Überstand markieren und Dachplatte R.16 / Dachpaneel FX.12 beschneiden (Bild 1).
  • Oberen Falz ca. 200 mm einschneiden und ausklinken (Bild 2).
  • Der obere Einhangfalz wird verlaufend aufgekantet (Bild 3).
  • Die Zugabe von 30 mm aufkanten und Giebelleiste einfalzen (Bild 4).
  • Zu kürzende Dachplatte R.16 / kürzendes Dachpaneel FX.12 beim Dachabsatz anzeichnen und zuschneiden (Bild 5).
  • Zugeschnittene Dachplatte R.16 / zugeschnittenes Dachpaneel FX.12 verlegen (Bild 6).
  • Beide Dachplatten R.16 / Dachpaneele FX.12 werden zusammengefalzt, und im Einhangbereich wird der Falz umgelegt (Bild 7).
  • Einhangbereich wieder umkanten und mit Patenthaft befestigen (Bild 8).
  • Die darauffolgende Reihe Dachplatten R.16 / Dachpaneele FX.12 kann dann über die gesamte Breite verlegt werden (Bild 9).

Dachschindel und Dachschindel DS.19

  • Wenn der Dachabsatz eine erste Reihe mit gekürzten Schindeln erfordert, so sind dafür die Dachschindeln / Dachschindeln DS.19 zu kürzen (Bild 1).
  • Die darauffolgende Schindelreihe kann dann über die gesamte Breite durchgedeckt werden (Bild 2).
  • Fertig gedeckter Dachabsatz (Bild 3).

Dachraute 29 × 29 und Dachraute 44 × 44

Bei Dachabsätzen mit der Dachraute 29 × 29 bzw. 44 × 44 ist in den meisten Fällen eine angepasste Traufenverblechung herzustellen. Dadurch kann mit einer Startplatte Dachraute 29 × 29 oder 44 × 44 begonnen werden (Bild 1A und 1B).

Variante A: Waagrecht verlaufender Falz

Die darauffolgende Dachrautenreihe kann dann über die gesamte Breite verlegt werden (Bild 2A und 2B).

Variante B: Senkrecht verlaufender Falz

Fertig verlegter Dachabsatz (Bild 3A und 3B).

Anschluss an eine Saumrinne (Aufdachrinne)

Saumstreifen 1.806 × 150 mm laut nachfolgender Abbildung (2 Büge) kanten.